Контакты:
Амазонка бай
Телефоны:
Режим работы:
  • Пн-Пт: 09:00 - 18:00
  • Сб-Вс: 24/7
Принимаем заказы через корзину круглосуточно
Адрес и схема проезда:
  • г Минск, ул.Горовца 32
  • e-mail: zakaz@amazonka.by
Посмотреть схему проезда
Телефоны:
Амазонка бай
Каталог товаров Меню
Список товаров

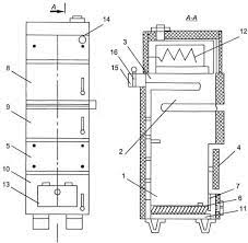
Твердотопливный котел Метромаш Комфорт КС-ТГ-25у с теплообменником, газовая горелка

  • Вес: 256 кг.
Артикул: 1238231
  • 0 BYN Выгода -3469 BYN
  • 3 469 BYN
    Под заказ 3 дня

Предложите свою цену

dollar-account
Нашли дешевле?
Гарантия 12 месяцев
  • Характеристики

    Производитель   Метромаш
    Площадь обогрева, м²   250
    Топливо   Дрова, Газ
    Материал топки   Сталь
    Толщина стали, мм   3
    Страна   Беларусь
    Гарантия мес   12
    Диаметр дымохода   120
    Габариты (ВхШхГ)   1530х460х900
    Вес, кг   256
    Варочная плита   Нет
    Подключение дымохода   сзади
    Тип   Одноконтурный
    Тип котла   Длительного горения
    Установка   Напольный
    Вентилятор   Нет
    Регулятор тяги   Нет
    Объем камеры загрузки, м3   75
    КПД   75
    Мощность кВт   25
    Регулятор тяги   Нет
    Количество контуров   Одноконтурный
  • Описание

    Твердотопливный котел Метромаш Комфорт КС-ТГ-25у с теплообменником и газовой горелкой представляет собой универсальное решение для обогрева дома или дачи до 250 квадратных метров. Производитель этого надежного оборудования - компания Метромаш из Беларуси, известная своим высоким качеством продукции.

    Основным топливом для котла являются дрова, что делает его экологически чистым и экономичным в использовании. В то же время, наличие газовой горелки дает возможность использовать газ как альтернативное топливо, что особенно удобно в случае его доступности или при необходимости быстрого переключения на другой вид топлива.

    Материал топки - сталь толщиной 3 мм, обеспечивает долгий срок службы и высокую стойкость к высоким температурам. Габариты котла составляют 1530х460х900 мм, а его вес - 256 кг, что делает его компактным и удобным для установки в различных условиях.

    Котел оснащен одноконтурной системой, предназначенной для обогрева и, при необходимости, подачи горячей воды. Отсутствие вентилятора и регулятора тяги не умаляет его эффективности благодаря высокому коэффициенту полезного действия (КПД 75%). Это позволяет котлу обеспечивать эффективное и экономичное потребление топлива.

    Объем камеры загрузки составляет 75 литров, что обеспечивает длительное время горения и минимизирует необходимость в частой подаче топлива. Благодаря простоте эксплуатации и надежности, Метромаш Комфорт КС-ТГ-25у с теплообменником и газовой горелкой является отличным выбором для тех, кто ценит комфорт и надежность в отопительном оборудовании.


    Твердотопливный котел Метромаш Комфорт КС-ТГ-25у с теплообменником, газовая горелка купить в Слониме с доставкой и рассрочкой платежа.
  • Отзывы

    Имя:
    Прикрепить изображения
    Вопросы и Ответы:
    Имя:
    E-mail:
    Прикрепить изображения

    0 Вопросов
  • Условия доставки и оплаты

    Условия доставки Твердотопливный котел Метромаш Комфорт КС-ТГ-25у с теплообменником, газовая горелка в Слоним
  • С этим товаром покупают

Гарантия и возврат

Амазонка бай реализует более 10 000 товаров надлежащего качества от проверенных поставщиков, зарекомендовавших себя как ТОП-производители. Гарантия производителя распространяется на гарантийный талон либо иной другой документ его заменяющий. 

В случае возникновения гарантийного случая необходимо обратиться в сервисный центр или в наш отдел по рекламациям.

Какие гарантийные сроки?

В основном на продукцию распространяется гарантия от 12 месяцев до 25 лет в зависимости от срока, предусмотренного производителем. Данная информация указана в гарантийном талоне либо ином заменяющем его документе.

За более подробной информацией и разъяснениями можете обращаться к нам по телефону +375 (29) 8000 226. Всегда рады помочь!

Какая информация должна быть в гарантийном талоне?

Гарантия содержит информацию:

  • дата реализации;
  • модель товара;
  • серию и номер.

В талоне проставляется штамп торгующей организации и печать ответственного лица.

Легкий возврат товара

Возврат некачественного товара.

Для возврата приобретенного недоброкачественного товара будет необходимо:

  • связаться по телефону +375 (29) 8000 226 с отделом по рекламациям, объяснить причину поломки;
  • предоставить документы, свидетельствующие о приобретении: кассовый чек, товарный чек, ТН, договор поставки и иные документы, доказывающие факт приобретения данного товара;
  • оформление возврата некачественного товара  - заявление;
  • согласование возврата денежных средств либо замену товара.
Требования потребителя о соразмерном уменьшении покупной цены товара ненадлежащего качества, возмещении расходов на устранение недостатков товара потребителем или третьим лицом, расторжении договора розничной купли-продажи и (или) возврате уплаченной за товар ненадлежащего качества денежной суммы подлежат удовлетворению продавцом (изготовителем, поставщиком, представителем) незамедлительно. В случае, если удовлетворить требования потребителя незамедлительно не представляется возможным, максимальный срок для удовлетворения требований потребителя не может превышать семи дней со дня предъявления соответствующего требования, а при необходимости проведения экспертизы – четырнадцати дней.

Возврат товара надлежащего качества.

В случае возврата доброкачественного товара, потребитель осуществляет возврат в течение 14 календарных дней с момента приобретения. Товар должен быть в заводской упаковке, без повреждений, содержать все сопроводительные документы (гарантийный талон, паспорт изделия и т.д.) и иметь такой же вид, как при покупке.
Обращаем Ваше внимание, что возврат возможен не на все категории товаров. Перечень непродовольственных товаров надлежащего качества, не подлежащих обмену и возврату, утвержден Постановлением Совета Министров Республики Беларусь № 778 от 14.06.2002 года. (Изделия под заказ, отрезные товары)
Остались вопросы? Позвоните нам для уточнения +375 (29) 8000 226.

Простая замена товара

Я могу вернуть доброкачественный товар?

Да. Если Вы приняли решение вернуть качественный товар, такая возможность действует в течение 14 календарных дней со дня приоретения. Внимание! Товар должен иметь продажный вид как при покупке, без следов эксплуатации.
Однако вернуть можно не все покупки. Перечень непродовольственных товаров надлежащего качества, не подлежащих обмену и возврату, утвержден Постановлением Совета Министров Республики Беларусь № 778 от 14.06.2002 года. Обмен и возврат продукции осуществляется на территории продавца.

Как вернуть недоброкачественный товар?

Для возврата товара ненадлежащего качества требуется:

  • обратиться к торговой организации;
  • предъявить документы, подтверждающие покупку;
  • обязательно предоставить заявление на возврат;
  • обговорить возврат средств с менеджером.

Необходимо некачественный товар вернуть по месту расположения продавца.

Кредит и рассрочка товара

Введите ваши данные